自2024年11月PS5 Pro发售以来,索尼持续致力于为这台最强主机优化游戏画质与分辨率。尽管PSSR技术在部分游戏中表现出色,但另一些作品仍存在视觉瑕疵与图像问题,影响性能与画面稳定性。

为此,索尼在系统架构师马克·塞尔尼的主导下,与AMD展开密切合作,计划将FSR4的关键技术元素融入PS5 Pro的PSSR中。最新向WIPO提交的名为“图形处理”的专利,首次揭示了PSSR 2.0的技术方向,预计该更新将在未来数月内随开发套件一同推出。
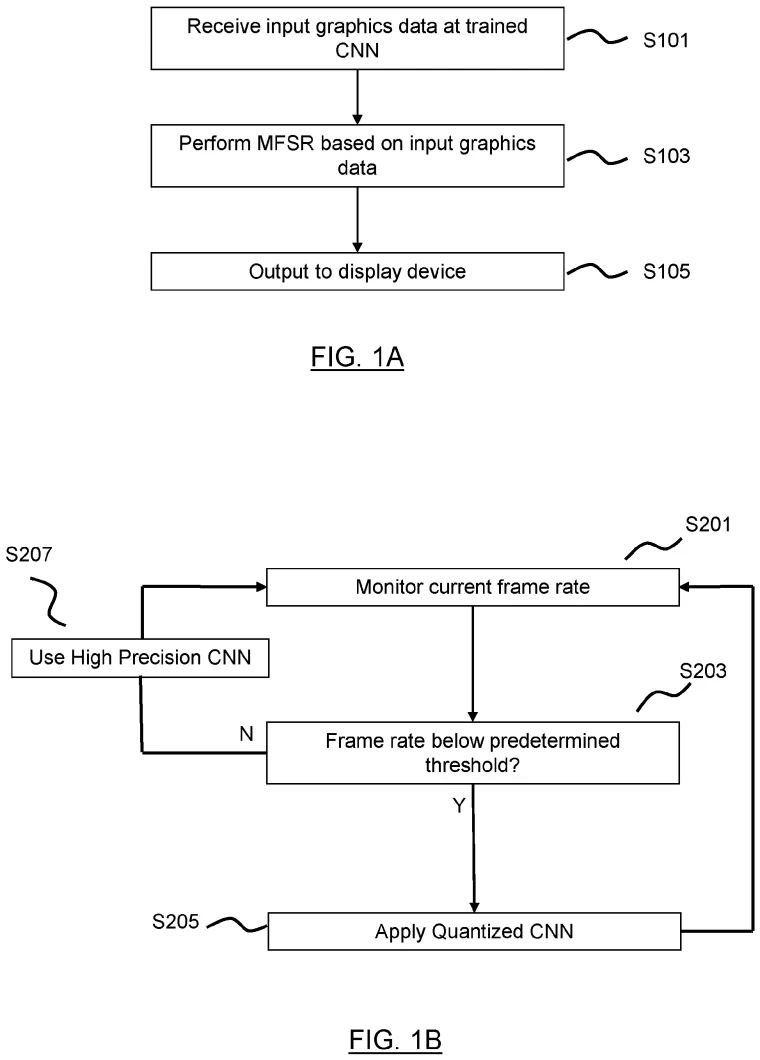
专利中描述了一种全新方法,旨在避免PS5 Pro游戏出现帧率下降与原生分辨率降低的问题。简而言之,开发人员未来或许无需为了使用PSSR而降低游戏的基础分辨率。

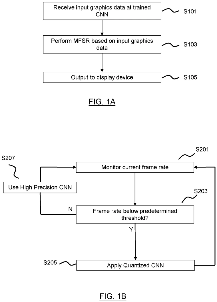
该专利的核心概念是实时量化。当游戏遭遇大数据负载时,帧率可能短暂下降数秒。PSSR 2.0的解决方案并非降低原生分辨率,而是临时减少卷积神经网络的使用,以稳定性能。
CNN即卷积神经网络,是PSSR用于图像重建与分辨率提升的机器学习系统。当帧率下降时,PSSR 2.0将减少CNN的调用,在不降低游戏原生分辨率的前提下,将性能拉回正常水平。

根据专利描述,实时量化在图形处理器负载过高时主动降低神经网络的使用强度,有助于平抑帧率波动,尤其在快节奏游戏中效果显著。
目前这仍是一项技术概念,其在真实游戏中的实际表现尚待验证。若能达成预期效果,索尼将有望解决玩家在PS5 Pro PSSR上观察到的主要问题之一。